秦孝公据崤函之固,拥雍州之地,君臣固守以窥周室,有席卷天下,包举宇内,囊括四海之意,并吞八荒之心。当是时也,商君佐之,内立法度,务耕织,修守战之具,外连衡而斗诸侯。于是秦人拱手而取西河之外。 - 贾谊·《过秦论》
历史上的函谷关地势险固,锁钥关中,以控天下,地理优势拉满。公元前318年,公孙衍率六国联军叩关攻秦,秦军并未迎战,只是据险而守,这关隘便令六国联军士气大减,最终合纵不成,未战先溃。秦国稳据关中,进可攻、退可守,为后来统一天下奠定了基础。
在手机上,有用到过一种“负载开关”器件,它在逻辑功能上与函谷关极为相似,你用了它,就像立了一道关卡一样,下面试着为诸君讲述下。
背景
饶是你,也知道开关这玩意在生活中必不可少,电路也是人设计出来的,必定夹杂着人的习性,故也会用到开关。于是便涉及到负载开关,它本质上就是电子开关,将MOS管、驱动、保护和时序控制功能高度集成,极大地简化了设计,用起来简单。
负载开关一开始并不是芯片,而是由分立MOS电路演进而来,芯片与分立器件相比,占板面积更小,成本更低!

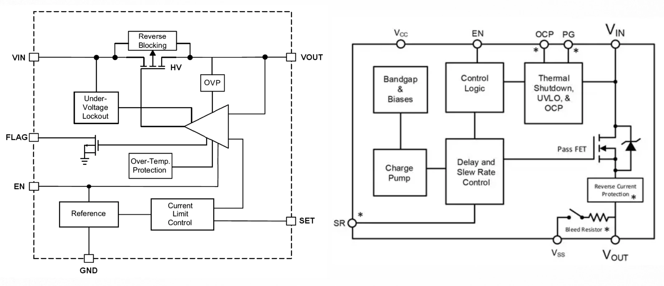
内部框图
下图列举了两款负载开关芯片的内部框图,可见通常会集成如下的东东:
- 功率MOS: 通常是一个低导通电阻的MOS,开关导通时,压降低,功耗低。
- 使能脚(EN ):由AP或MCU的GPIO进行控制开通或关断。
- MOS驱动电路:如果是NMOS做的开关,还需要电荷泵驱动,以确保MOS能够被足够的电压,干净地打开和关闭。
- 过流保护: 检测流过的电流,如果超过设定值,会自动限制电流或关断开关,防止后续模块损坏。
- 热关断: 当芯片温度超过安全阈值时,自动关断开关,温度降低后自动恢复。
- 欠压锁定(UVLO): 当输入电压低于某个阈值时,禁止开关开启,确保系统在电压不足时不会异常。
- 缓启动(soft start): 浪涌电流就像是起床气,而通过控制MOS的开启速度,使输出电压平缓上升,可以防止在开启瞬间产生大的浪涌电流,避免输入电压跌落、系统复位。
- 输出放电: 关断时,通过一个内部电阻快速将输出端的电容放电至0V,确保负载迅速、确定性地进入断电状态,规避下电缓慢带来的问题。
- 反向电流阻断: 防止当输出端电压高于输入端时(例如,负载上有大电容或别的电源),电流倒灌回输入端。
- 状态指示(PG或FLAG):一个开漏输出信号,告诉其他芯片自己是否正常。

功能
有了负载开关后,电路的可控性大大增加,大体上能够实现如下功能:
1、可满足上电时序方面的需求,控制各个模块的上电顺序,上电谁先谁后,开关说了算。为了减少控制脚的使用,可以做成级联的形式,如下图。

2、可满足电源配置的需求,可灵活控制哪个子系统上电,哪个子系统不上电。

3、使单个负载选择多路输入中的一个。

3、负载开通通常有软启动(缓启动)功能,可以减小上电时的浪涌电流。

4、减小耗电,系统运行过程中关断不需要供电的回路,降低系统功耗。

5、减小漏电流,有的负载关断后仍然有可观的漏电流,这时可用负载开关切断电源供电,漏电流自然减小。
6、有的负载开关带有电流限制功能,能避免负载电流过大,使主系统瘫痪。
7、有的负载开关带有真阻断功能,TRCB,True Reverse-Current Blocking,开关关断时,可避免输出侧向输入侧流动(倒灌)。